All posts

Timeless Style: How to Choose the Perfect Watch for Every Occasion
Discover timeless elegance with Limitless Jewellery’s watch collection. From sleek silver to bold gold tones, these versatile pieces complement every outfit and occasion. Whether for work, weekend,...
Read more
Style Your Accessories Like a Pro This Fall | Limitless Jewellery
Discover expert fall styling tips with Limitless Jewellery. Learn how to layer jewellery, pair watches and sunglasses, and elevate your autumn wardrobe with timeless accessories for effortless seas...
Read more
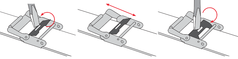
How to adjust Stainless Steel Mesh Strap?
On the adjustable buckle, open the clasp Place your screwdriver or spring bar tool in the square slot. Lift this piece away from the strap to open it toward the timepiece body. Warning: levera...
Read more